Via BeckerCAD 3D Pro zum 3D-Rillenkugellager

Sie sind hier: WDF-Startseite

Der gute Weg zu besseren Technischen Zeichnungen 

Wälzlager werden auf entsprechenden Online-Plattformen zwar oft zum kostenlosen Download angeboten, doch lassen diese ab und an Wünsche, etwa hinsichtlich der optischen Abweichung zum realen Lager offen. Dem Mangel kann abgeholfen werden, wenn für eigene Konstruktionen entsprechende Lager selbst erstellt werden. Dazu ist bereits preiswerte 3D-CAD-Software – wie etwa BeckerCAD 3D Pro – in der Lage.

In manuell erstellten Technischen 2D-Zeichnungen sind Rillen-, Rollen- oder Axiallager relativ einfach einzuzeichnen. Dazu ist lediglich ein Tabellenbuch nötig, um die Maße der in der Konstruktion verwendeten Lager in Erfahrung zu bringen.

Solange sich die zu erstellende Konstruktionszeichnung auf den 2D-Bereich beschränkt, kann in BeckerCAD 3D Pro zu einem großen Teil sogar das Tabellenbuch entfallen, da für zahlreiche Rillen- und Rollenlager elektronische Tabellen existieren, die direkt aus dem CAD-Programm aufgerufen und verwendet werden können.

Sogar für nicht aufgeführte Lager können die passenden Werte in ein entsprechendes Fenster eingegeben werden, wodurch Lager erzeugt werden können, die nicht von Haus aus in BeckerCAD 3D Pro enthalten sind. Allerdings sind dazu doch wiederum gedruckte Tabellenbücher zu Rate zu ziehen, um die passenden Werte in Erfahrung zu bringen, dies umzusetzen.

Der Zugriff auf fertige Lager gilt leider nicht für den 3D-Bereich, denn 3D-Lager sind nur in CADdy++, dem großen Bruder von BeckerCAD 3D Pro, aufrufbar. Da es jedoch kein Problem ist, ein 3D-Rillenkugellager zu erzeugen, können mit BeckerCAD 3D Pro relativ rasch die für eine Konstruktion benötigten Lager als Volumenmodell selbst erstellt werden.

Der Weg zum 3D-Rillenkugellager

Um ein Rillenkugellager DIN 625-6008 als Volumenmodell erstellen zu können, sind folgende Werte aus dem obigen Auszug eines Tabellenbuchs zu ermitteln:

  • Innendurchmesser d: 40mm

  • Außendurchmesser D: 68mm

  • Lagerbreite B: 15mm

  • Radius an den Ringen r: 1mm

Der Kugeldurchmesser ist aus der Tabelle allerdings nicht zu ersehen, muss daher entweder über eine Suchmaschine oder über den Aufruf der entsprechenden Variablenwerte in der Wälzlagertabelle von BeckerCAD 3D Pro in Erfahrung gebracht werden.

Aus dieser Tabelle ist zu ersehen, dass der Kugeldurchmesser für das gewünschte Rillenkugellager 8,12 Millimeter beträgt. Nebenbei wird anhand der Tabelle bestätigt, dass die aus dem Tabellenbuch ermittelten Werte korrekt übernommen wurden.

Wird in BeckerCAD nun der Button „Erzeugen“ betätigt, so wird das entsprechende Rillenkugellager mit den gewählten Maßen in einer Schnittdarstellung erzeugt.

Hinweis.

Wäre das gewünschte Rillenkugellager nicht in der 2D-Normteiltabelle von BeckerCAD vorhanden gewesen, müssten jetzt manuelle 2D-Zeichenarbeiten getätigt werden, um die 2D-Konturen für die Volumenmodelle des Rillenkugellagers zu erstellen.

2D-Normteile auflösen

Die 2D-Normteile von BeckerCAD sind keine starren Gebilde, die sich jeder Manipulation entziehen, sondern können problemlos aufgelöst und weiterbearbeitet werden. Dazu gibt es die Funktion „2D-Normteil auflösen“. Damit wird der Verbund der einzelnen Elemente – aus denen das Normteil besteht – aufgelöst, wodurch diese Elemente manipulier- beziehungsweise löschbar werden.

Mittels weiterer Bearbeitungs-Funktionen, wie etwa „An Linie trimmen“, „Teilen in Punkt“ oder „Verbinden“, können nun die einzelnen Elemente derart angepasst werden, dass es möglich wird, aus dem Resultat ein 3D-Rillenkugellager zu erzeugen. Dazu genügt es, die oberen oder die unteren 2D-Elemente zu bearbeiten und die restlichen Objekte zu löschen.

Die Ringe des Kugellagers erzeugen

Mittels der Funktion „Dynamisch kopieren“ werden nun die 2D-Elemente zusammen mit der Mittellinie in den 3D-Bereich kopiert, wo sie mittels der Funktion „Rotationskörper“ jeweils zu entsprechenden Volumenkörper rotiert werden. Dabei ist zu beachten, dass der Button „3D-Modus aktivieren/deaktivieren“ auf rot geschaltet wird, damit beim Selektionsvorgang keine unliebsamen Überraschungen geschehen.

Nach dem Erzeugen der Ringe ist diese Funktion wieder zu aktivieren!

Kugeln erzeugen

Um die Kugeln für das Rillenkugellager erzeugen zu können, muss zunächst eine neue Konstruktionsebene an der Stirnseite eines der Ringe erzeugt werden. Diese Konstruktionsebene ist anschließend mittels der Funktion „KE entlang Z verschieben“ um 7,5 Millimeter in Richtung Ringmitte zu verschieben, was der Hälfte der Ringbreite entspricht.

Hinweis.

Dies ist eine Alternative Vorgehensweise, die nicht unbedingt nötig ist, da die Kugel auch über die Funktion „Körperschwerpunkt“ in das Zentrum der Ringe gesetzt werden kann.

Anschließend wird mittels der Festkörperfunktion „Kugel“ eine Kugel mit einem normgerechten Durchmesser von 8,12 Millimeter im Mittelpunkt der Ringe erzeugt. Der Kugeldurchmesser kann dabei über das Statusfeld eingegeben werden. Um die Kugel exakt im Mittelpunkt des Lagers platzieren zu können, wird per mittlerer Maustaste auf die Kontextfunktion „Fläche/Schwerpunkt“ zurückgegriffen.

Um den Verschiebewert in Erfahrung zu bringen, die Kugel exakt zwischen den Rillen von Innen- und Außenring zu platzieren, muss die 2D-Zeichnung aufgerufen und die Bemaßungsfunktion genutzt werden. Das Ergebnis zeigt, dass die Kugel um genau 27 Millimeter verschoben werden muss, damit diese perfekt in den Rillen positioniert wird.

Um diesen Wert wird die 3D-Kugel mittels der Funktion „3D-Objekte transformieren“ verschoben. Der Verschiebewert wird dabei im Statusfeld eingegeben.

Zur bereits vorhandenen Kugel sollen sich nun 11 weitere Kugeln gesellen, die im Winkel von 30 Grad angeordnet werden. Dazu steht die Funktion „Multiplizieren mit Kreisteilung“ zur Verfügung, wobei beim sich öffnenden Kontextfenster die Einstellung „Winkelabstand und Anzahl“ zu wählen ist. Die Option „Körper vereinigendarf nicht aktiviert werden, da sonst eventuelle Schnittdarstellungen durch das Lager in Zusammenbauzeichnungen nicht korrekt dargestellt werden.

Lager exportieren

Um das Lager mehrmals in Zusammenbauzeichnungen verwenden zu können, ist es nötig, dieses in das SAT-Format zu exportieren. Ab sofort ist es anschließend möglich, das selbst konstruierte Rillenkugellager mehrmals in verschiedenen Konstruktionszeichnungen zu verwenden.

Die Schnittdarstellung

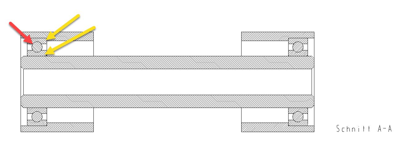
Leider gibt es einen kleinen Wehrmutstropfen, was die Darstellung des Rillenkugellagers in einer Schnittdarstellung betrifft. Während die integrierten 3D-Normteile von CADdy++ direkt korrekt geschnitten werden, ist dies bei der selbsterstellten BeckerCAD-Variante nicht der Fall. Der Grund liegt darin, dass keine Algorithmen hinterlegt sind, die bewirken, dass die Kugeln vom Schraffier-Vorgang ausgenommen sind und zudem die Lagerringe gleichwinklig schraffiert dargestellt werden, wie es die Norm vorschreibt.

Abhilfe bringen die Funktionen „2D-Objekt auflösen“ oder „Schraffur auflösen“, mit denen es möglich ist, falsche Schraffuren in Einzelelemente aufzulösen, die anschließend mit der Funktion „Objekt löschen“ gelöscht werden können. In diesem Zusammenhang darf man sich nicht von scheinbar gelöschten Linien blenden lassen. Ein Klick auf den Button „Bild neu zeichnen“ bringt diese wieder hervor, weshalb der Einsatz der Löschfunktion auf jeden Fall nötig ist.

Diese Schritte sind für alle Kugeldarstellungen zu wiederholen, wobei anzumerken ist, dass so manche Linie von BeckerCAD falsch erzeugt wurde. In diesem Fall hilft es, beispielsweise die Trimmfunktion aufzurufen, um den Mangel zu tilgen.

Anschließend können noch die Mittellinien mit den entsprechenden Funktionen eingezeichnet werden, wodurch eine normgerechte Schnittdarstellung entsteht, die nun bemaßt werden kann.

Auch im Fall von Wälzlagern zeigt sich, dass BeckerCAD 3D Pro in der Lage ist, selbst anspruchsvolle Aufgaben zu meistern.

Video "Via BeckerCAD 3D Pro zum 3D-Rillenkugellager"


********